Is an Apple VR headset in the works?
Apple has hired Doug Bowman, a leading virtual reality (and augmented reality) researcher as it looks to expand its experiments in VR.
We’ve seen rumours of an official mobile VR headset for iPhone before via a patent filed in 2008, and Apple Music has collaborated with VR production company VRSE on 360 degree videos for U2 and The Weeknd for Gear VR and Google Cardboard. But this new hire signals that Apple is getting serious about virtual reality, joining no less than Google, Facebook, Sony and Samsung in the process.
Read this: Oculus Rift v HTC Vive – which headset should you buy?
Bowman is moving to Apple from his post as director of its centre for human computer interaction at Virginia Tech, according to the Financial Times. As well as doing research into designing user interfaces for fully immersive VR experiences, Bowman also won a $100,000 grant from Microsoft last November to work on a mixed reality data study around HoloLens.

That leaves Bowman’s potential brief wide open. He may advise Apple on creating more VR content for iTunes and Apple Music or he could be involved in developing either VR or AR hardware and a platform to take on Oculus, Steam and Cardboard.
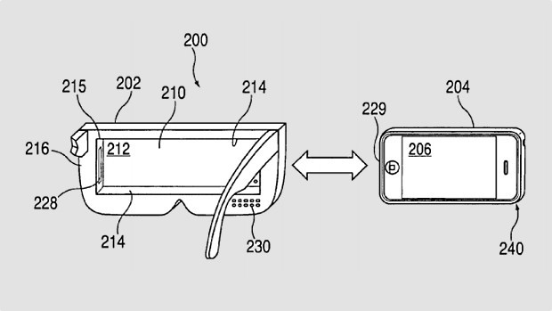
Details of a patent for a VR headset that uses an iPhone were revealed by The Telegraph in early 2015. The diagrams feature a headset that looks very similar to Google Cardboard or the Samsung Gear VR with the addition of a remote control, with scrollwheel, for navigation.
The patent was first filed in 2008 but that doesn’t mean Cupertino has ditched the plans – the Apple Watch was three years in the making and Apple never worries too much about being first.
Apple also recently bought the emotion tracking software startup Emotient for $6 million. Emotient’s artificial intelligence tech is able to read users emotions by reading facial expressions and it could have possible applications for creating realistic avatars for social/multiplayer VR.
All signs point to a big VR announcement from Cupertino. With the launches of Oculus Rift, HTC Vive and Sony’s PlayStation VR in the first half of the year, and the growing popularity of Google Cardboard and Samsung’s Gear VR, Apple could once again launch a new category of hardware at that magic moment when a technology is ready to go mainstream. See also: the Apple Watch taking 52% of smartwatch sales in 2015.




