The week's wearable tidbits and blips in one place
In this week’s And Finally, we have an Apple rumour that has nothing to do with the Watch, a wearable banana (yes), a mood matching jacket at Fashion Week and a one button, smart home app.
And Finally is our weekly synopsis of the rumours and rumblings of the wearable world. Make sure you come back to Wareable for the latest big wearable tech news, reviews and analysis.
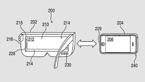
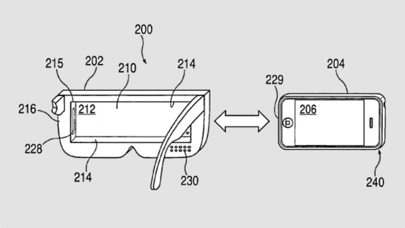
Apple VR headset in the works

Details of a patent for a VR headset that uses an iPhone have been revealed by The Telegraph. The headset diagrams feature a headset that looks very similar to Google Cardboard or the Samsung Gear VR with the addition of a remote control, with scrollwheel, for navigation. The patent was first filed in 2008 but that doesn’t mean Cupertino has ditched the plans – the Apple Watch was three years in the making.
For a glimpse at the kind of short films and experiences we could be watching on an Apple headset, check out our best Google Cardboard apps, best Samsung Gear VR apps and a look at how VR storytelling is taking flight in 2015.
This jacket matches your mood

Fashion studio The Unseen, which debuted a thought-reading, bejewelled headdress last September, is back at London Fashion Week this week. Designer Lauren Bowker collaborated with tech agency Holition on a sculptural jacket which changes colour depending on the wearer’s mood.
The Unseen’s signature ink changes colour into four combinations based on electrical conductivity with brain impulses being read by an EEG headset. The title of the piece is The Eighth Sense and The Unseen is giving Fashion Week press and industry types “live aura readings” at Somerset House. See more pics on Dezeen.
More LFW: Google Cardboard gets River Island app
“This is no regular banana”

There are (almost) no words. Dole Japan has created an edible wearable, specifically a banana that you can strap to your wrist to check your race time, heart rate, Twitter messages of support and yes, reminders to stop off and eat normal bananas throughout the Tokyo Marathon on 22 February.
How? By putting sensors and an LED display underneath the banana’s skin. Why? We’ll have to think on that. Oh and here’s a wearable tomato.
IFTTT gets one button controls

Home automation experts IFTTT (If This Then That) just launched some new apps for iPhone and Android including Do Button which lets you control all your smart locks, smart bulbs and smart sockets with a couple of clicks.
There’s widgets for the iOS notifications pulldown and Android homescreens and though CEO Linden Tibbets stopped just short of confirming to Quartz that IFTTT is working on an Apple Watch app, he did say “You can imagine it’d be pretty darn straightforward.”
Exclusive round-up: Indie Apple Watch apps to look forward to


![Best Apple Watch: Choose or upgrade to the right version [February 2026] which-apple-watch](https://hillnowspace.click/wp-content/uploads/sites/6/2024/12/which-apple-watch-450x253.jpg)